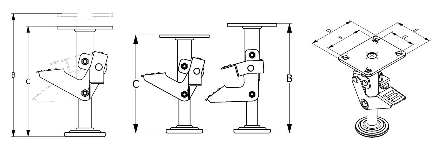
Freins
Frein TLC Acier galvanisé

| Code | Position de la pédale de levier | B | C | D | E | F x G |
|---|---|---|---|---|---|---|
| 4-0572 | Droite | 246 | 220 | 135 | 110 | 102x82/108x78 |
Le frein TLC est conçu pour être placé sous les conteneurs, la face supérieure de la scène doit être placée entre 239 et 243mm. du sol.
Frein TLCH Acier peint en noir

| Code | B | C | D x E | F x G | H |
|---|---|---|---|---|---|
| 4-0569 | 208 | 162 | 152x114 | 127x63,5 | 12 |
Le frein TLCH est conçu pour être placé sous les conteneurs, la face supérieure de la scène doit être placée à 200mm du sol.
Frein TLCM Acier galvanisé

| Code | Position de la pédale de levier | B | C | D x E | F x G |
|---|---|---|---|---|---|
| 4-0571 | Gauche | 346 | 381 | 165x114 | Percé par l'utilisateur |
Le frein TLCM sera placé sur les côtés ou les extramités des conteneurs. Un placement correct sera quand il est à 33 mm du sol en position libre.
Contactez-nous
Envoyez-nous le formulaire suivant et nous vous contacterons pour répondre à votre question.
Restez informé de toutes les nouvelles, offres et promotions que nous avons préparés pour vous.
Roulettes fortes charges
Roulettes transport industriel
Roulettes pour échafaudages
Roulettes inox
Roulettes pour collectivités
Roulettes d'ameublement
Roues et roulettes pneumatiques
Roulettes décor
Roues et Galets
Roulettes twin lex
Accessoires